Содержание
Да, все знают что это электрический ток в розетке должен быть 220 вольт». Но тех, кто представляет хотя бы приблизительно как он образуется и передаётся потребителю, кто может сказать «в бытовой электросети однофазная линия переменного тока 220 вольт частотой 50 Герц» совсем немного и, скорее всего, это будут специально обученные люди, которые тоже порой не задумываются о том, почему именно 220 вольт? Почему переменный ток, почему частота сети именно 50 Герц? А действительно, почему сложилось именно так? Вариантов-то было множество. И кстати, заходя вперёд, стоит сообщить что вышеперечисленное не эталонный стандарт для всей планеты. Кто-то пошёл и другим путём в возведении электро-инфраструктуры. На эти и некоторые другие вопросы мы попытаемся дать ответы в данной статье.
Откуда берется напряжение
Чтобы подать электричество в розетку, необходимо его как-то сгенерировать. Для выработки электроэнергии до сих пор в большинстве применяются технологии конца 19 века – электромагнитная индукция, преобразующая механическую энергию в электрическую. Проще говоря – генераторы. Различие генераторов лишь в том, каким образом подают механическую энергию. Раньше это были громоздкие паровые машины. Со временем добавились гидротурбины для проточной воды (гидроэлектростанции) , двигатели внутреннего сгорания, ядерные реакторы.
Принцип действия генератора основан на магнитной индукции. Вращательное движение генератора превращается в электрический ток. То есть можно сказать, что генератор — это тот же самый электродвигатель, но обратного действия. Если на электродвигатель подать напряжение, то он начнет вращаться. Генератор работает наоборот. Вращательное движение вала генератора превращается в электрический ток. Поэтому, чтобы вращать вал генератора, нам потребуется какая-либо энергия извне. Это может быть пар, который раскручивает турбину, а она в свою очередь раскручивает вал генератора

либо это может быть сила потока воды, которая с помощью гидротурбины раскручивает вал генератора, а он в свою очередь также вырабатывает электрический ток

Ну или это может быть даже ветряк

Короче говоря, принцип везде один и тот же.
Кстати, ядерный реактор не способен самостоятельно выработать энергию. По сути, атомная энергоустановка является тем же самым примитивным паровым котлом, где рабочим телом является обыкновенный пар. Да, нынче существуют иные способы генерации электричества, на вроде тех же самых солнечных элементов, бетагальванических и изотопных ядерных батарей, «мифических» токомаков. Однако, вышеперечисленный «хайтэк» имеет существенные ограничения – запредельная стоимость материалов ,монтажа и наладки, габариты и малый кпд. Потому, всерьёз рассматривать всё это в качестве полноценной электростанции большой мощности не стоит (по крайней мере в ближайшие пару десятков лет).
Экскурс в историю
Итак, генератор на нашей электростанции преобразовывает механическую энергию в электрическую. А что дальше? В каком виде и как именно передавать энергию потребителю? Как избежать колоссальных потерь при передаче?
Поразительно, но подобная ситуация существовала на самом деле! В той же Российской Империи вплоть до начала 20 века была полная неразбериха. Рядом с каждым «крупным» потребителем электроэнергии (фабрика, подворье преуспевающего купца или гостиница для особ благородных кровей) строили отдельную электростанцию. Было множество конкурирующих фирм, предоставляющих услуги электрификации и, в последующем, своё электрическое оборудование заточенное только под свою сеть. Каждый поставщик электроэнергии задавал собственные параметры электросети – напряжение, частоту. Были даже электросети с постоянным током! Человек, купивший, к примеру, электролампочки в «Товариществе электрического освещения Лодыгин и Ко» смог бы использовать их лишь в электросети этой же компании. При подключении к сети «Дженерал электрик» эта лампочка тут же вышла бы из строя – напряжение сети этой фирмы было значительно выше необходимого, не говоря уже о других параметрах.
Лишь в 1913 году имперские инженеры решились передавать электроэнергию на большие расстояния по воздушным проводным линиям, избавив от необходимости постройки электростанций «у каждой розетки». В преддверии грядущей великой войны и нахлынувшего патриотизма власть задумалась об импортозамещении. Ну прям как в наше время, после кризиса 2014 года). Были финансово и юридически задавлены многие небольшие западные фирмы (кроме германских и французских), преференции и льготы давались лишь отечественным товариществам и предприятиям. В итоге, это привело к монополизму на рынке поставщика электроэнергии и, невольно, стандартизации параметров электрической сети.
Так как Берлин и Париж были уже электрифицированы единой энергосистемой с переменным напряжением сети 220 вольт, отечественные компании также приняли этот стандарт. Людям было удобнее использовать электрические приборы единого типа, не беспокоясь что их новомодный электрический пылесос сгорит на новом месте жительства из-за других параметров энергосети. Произошло полное вытеснение многих небольших фирм – никто уже не хотел пользоваться их услугами и их приборами, хотя они вынужденно подстроились под единый стандарт электросети. Те самые 220 вольт переменного тока.
Почему именно переменное напряжение?
Не так давно по историческим меркам у человечества возникла дилемма: какой ток лучше? Переменный или постоянный? Этот период времени был известен, как «война токов». На самом деле были споры между Николой Теслой и Эдисоном — самыми великими учеными-изобретателями того времени. Эдисон был за постоянный ток, а Никола Тесла — за переменный. Это борьба продолжалось более 100 лет, даже после смерти этих великих ученых! Но все-таки в 2007 году окончательную победу одержал переменный ток.
Дело все в том, что постоянный ток при передаче на большие расстояния теряет свою энергию на нагрев проводов. Здесь во всем виноват закон Джоуля-Ленца
Q=I2Rt
где
Q — количество выделяемого тепла (Джоули)
I — сила тока, протекающего через проводник (Амперы)
R — сопротивление проводника (Омы)
t — время прохождения тока через проводник (Секунды)
Нетрудно догадаться, что чем больше сила тока будет протекать по проводам, и чем длиннее будут провода, тем больше они будут нагреваться, так как сопротивление провода выражается формулой:

Второй причиной было то, что в генераторе постоянного тока надо было использовать специальную конструкцию, которая бы позволяла снимать электрический ток с движущихся обмоток. Для этого на валу двигателя крепился так называемый коллектор, к которому припаивались обмотки генератора. Коллектор все время находился в движении, так как он закреплен на самом валу генератора. С коллектора с помощью графитовых щеток снималось напряжение. Тот же самый принцип до сих пор используется в генераторах и двигателях постоянного тока.

Минусом такой конструкции является то, что со временем щетки и коллектор изнашиваются. Поэтому, такой генератор надо часто обслуживать, вовремя заменять щетки и чистить коллектор. Чаще всего такой генератор имеет два провода: плюс и минус. Чем больше коллекторных пластин (ламелей) на таком генераторе, тем чище будет постоянный ток с такого генератора. Если такой генератор имеет множество ламелей и крутится с одинаковой скоростью, то на осциллографе можно увидеть примерно такую картину постоянного тока

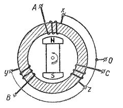
Таких недостатков лишен генератор переменного напряжения. Принцип его действия показан ниже

В настоящее время в нем используются три обмотки, разнесенные друг от друга на 120 градусов. Один конец каждой обмотки соединяется с друг другом, образуя так называемый «ноль». В нашей стране такие генераторы на ТЭС или ГЭС стараются крутить со скоростью 50 оборотов/сек. Ну или 3000 оборотов/минуту. Неплохая такая скорость). В Америке же их крутят под 60 оборотов/сек. А что такое обороты в секунду? Это и есть частота. А частота, как вы помните, выражается в Герцах (Гц). Поэтому, у нас в розетках частота 50 Гц, в Америке 60 Гц.
Такие генераторы называют трехфазными, так как они имеют три фазы: A, B, C. В англо-язычной литературе можно увидеть обозначение R, S, T либо L1, L2, L3. Точка, где соединяется конец всех обмоток обозначается буквой N (ноль).

То есть по сути с генератора выходит 4 провода: фазы A,B,С и 0, он же нейтраль N, который соединяет один конец каждой из трех обмоток.

При вращении ротора-магнита в каждой обмотке создается электрический ток. Если с помощью осциллографа вывести осциллограммы сразу трех обмоток, то можно увидеть что-то типа этого:

Передача электрического тока на дальние расстояния
Итак, электрический ток мы получили. Теперь надо как-то передать его на дальние расстояния, не забывая про закон Джоуля-Ленца: Q=I2Rt . То есть нам надо каким-то чудом уменьшить силу тока, которая будет течь по проводам, так как в основном из-за нее происходят большие потери.
Для этих целей идеально подойдет трансформатор, но не простой, а трехфазный. Здесь используется замечательное свойство трансформатора: если повышаем напряжение, то понижаем силу тока, и наоборот, понижаем напряжение, увеличиваем силу тока. Поэтому, для того, чтобы передать полученную электроэнергию на дальние расстояния, нам нужно увеличить в несколько раз напряжение, тем самым мы в это же число раз уменьшим силу тока. Ниже на рисунке схема передачи электроэнергии от генератора ГЭС и до конечного потребителя, то есть для заводов, для электротранспорта и для нас с вами.

С ГЭС напряжение повышают до нескольких киловольт, чаще всего до 110 кВ. Все это достигается с помощью трехфазного высоковольтного повышающего трансформатора (2).

Далее высоковольтное напряжение идет по высоковольтной линии (3) и доходит до какого-либо города, либо райцентра.

В каждом райцентре либо городе есть своя подстанция, где имеется уже свой высоковольтный понижающий трансформатор (4), который преобразует напряжение 110 кВ в 10 кВ, либо в 6 кВ (5).
Почему нельзя было сразу тянуть провода с генератора? Зачем надо было повышать, а потом снова понижать напряжение? Все опять же из за закона Джоуля-Ленца. Так как ГЭС находится на очень большом расстоянии от потребителей электроэнергии, приходится повышать напряжение, чтобы минимизировать потери на нагрев проводов. Как мы уже говорили, трансформатор повышает напряжение, но при этом уменьшает во столько же раз силу тока, поэтому потери в проводах на дальние расстояния сокращаются в разы, исходя из формулы Джоуля-Ленца Q=I2Rt.
Потом уже с подстанции напряжение расходится по трансформаторным «будкам», которые можно уже заметить в каждом районе.

От этих «будок» выходит после преобразования приблизительно 380 Вольт. Но здесь есть один нюанс. Везде используется три провода, а к нам в дома заходят чаще всего два провода. В чем же дело? А дело как раз в том, что есть такое понятие как линейное и фазное напряжение. Линейное напряжение замеряется между 3 проводами, по которым идут 380 В. Они называются фазами. То есть грубо говоря — это те же самые провода, которые вышли с генератора еще где-нибудь на ГЭС. Но если взять любую из фаз и замерять напряжение относительно нулевого проводника, то есть относительно нуля, то у нас будет фазное напряжение 220 В. Получается, к нам в дом заходит ОДНА фаза и НОЛЬ. Куда деваются другие фазы? Они равномерно распределяются между жильцами дома или вашего района. То есть к вашему соседу может придти другая фаза, но тот же самый ноль.

Напряжение 220 Вольт
Очень много вопросов в рунете именно по напряжению «из розетки». Самый часто задаваемый вопрос выглядит так:
— Какой ток в розетке?
Здесь вопрос, конечно же, поставлен неправильно. Током чаще всего называют именно силу тока. Правильнее было бы задать вопрос: «Какое напряжение в розетке?»
У нас в России в домашней сети переменное напряжение с частотой в 50 Герц, максимальной амплитудой приблизительно в 310 Вольт и действующим напряжением в 220 Вольт. Думаю, это будет самый развернутый ответ.
Итак, теперь давайте разбираться что к чему.
Как же выглядит этот «ток из розетки» на осциллографе? Ну примерно вот так:
По вертикали у нас одна клеточка равняется 100 Вольтам. Следовательно, максимальная амплитуда Umax будет равна где-то 330 Вольт

По идее должно быть 310 Вольт. Хотя оно и не удивительно. Напряжение в сети редко когда бывает стабильным. Все, конечно же, зависит от потребителей и трансформатора на электростанции, который их питает.
Когда я был еще совсем маленьким, рядом с телевизором у нас стояло очень интересное устройство. На нем была шкала, и мы вечером подкручивали крутилку, чтобы шкала показывала ровно 220 Вольт, иначе телевизор отказывался работать. С возрастом я понял, что это был ручной стабилизатор напряжения, так как именно вечером все соседи начинали «жрать» электричество и поэтому в сети было вольт 190-200. Это уже сейчас во всех телевизорах и других бытовых приборах эти стабилизаторы встроены прямо внутри прибора, и поэтому надобность в стабилизаторах резко отпала.
Что такое фаза и ноль
К вам 220 Вольт приходит по двум проводам. Иногда с ними бывает в связке еще и третий провод желто-зеленого цвета — это земля. Этот провод используется для обеспечения безопасности. В старых домах такого провода нет. Земля в 90% случаев обозначается как желто-зеленый провод. Другие провода могут иметь различную окраску, но чаще всего стараются ноль маркировать синим проводом, а фазу — ярким цветом. Например, красным.

Итак, по одному проводу течет фаза, по другому — ноль. Ноль — это провод для съема электрического тока с фазы. Ноль не представляет опасности для человека, но лучше все-таки не экспериментировать! В фазе напряжение очень быстро изменяется сначала от какого-то максимального значения (для 220 Вольт это значение равняется 310 Вольт), потом падает до нуля, и потом идет в минус и достигает значения в -310 Вольт и потом снова до нуля и снова до 310 Вольт. Итак, за секунду он успевает проделать эту операцию 50 раз, так как генератор на ГЭС, ТЭС или АЭС крутится именно с такой скоростью.

Какие процессы происходят на фазе?
В какой-то момент времени фаза бывает больше по напряжению, чем ноль. В какой-то момент времени она становится равна нулю. А в какой-то момент времени становится меньше чем ноль. Или, иначе говоря, ноль становится больше по напряжению, чем фаза). Потом фаза снова становится равна нулю, а потом снова больше нуля и все это повторяется до тех пор, пока работает генератор на электростанции.
Хотите узнать, как все это выглядит на графике? Да пожалуйста ;-)

Как я уже сказал, фаза без нуля — ничто! И если даже встать на диэлектрический коврик, то есть полностью изолировать себя от контакта с землей, то можно даже и потрогать фазу без вреда для здоровья. НО! не вздумайте проверять это дома! Так поступают только матерые электрики и у них имеются в наличии эти диэлектрические коврики и другие прибамбасы.
[quads id=1]
Но никогда, слышите, НИКОГДА! не дотрагивайтесь голыми руками сразу до двух проводов, тем более взяв их по одному в руки! Вы будете проводником, соединяющим цепь 220 Вольт. Или попросту говоря, вас ударит электрическим током. Думаю, некоторые до сих пор помнят эти «приятные» ощущения. А как бодрит сразу! Уууухх)))
Напряжение в розетке — это действующее напряжение и вычисляется оно по формуле:
где
UД — это действующее напряжение, В
Umax — максимальное напряжение, В
Следовательно,
что мы и видели на осциллограмме.
Так что знайте, что в электронике и в электрике если вам говорят, что напряжение переменного тока, допустим, 24 Вольта — это действующее напряжение. Максимальным значением переменного напряжения никто не пользуется.


















